Trong bối cảnh nhu cầu sử dụng nước sạch tăng mạnh ở cả lĩnh vực công nghiệp và dân dụng, việc đầu tư một thiết bị lọc nước có hiệu suất cao, dễ vận hành và bền vững trở thành ưu tiên hàng đầu đối với nhiều đơn vị. Trong số các thiết bị lọc được sử dụng phổ biến hiện nay, bồn lọc áp lực composite nổi lên như một lựa chọn tối ưu nhờ trọng lượng nhẹ, khả năng kháng ăn mòn vượt trội, độ bền áp lực cao và tính linh hoạt trong cấu hình vật liệu lọc. Với nhiều ưu điểm mang tính dài hạn, bồn lọc áp lực composite đang dần thay thế các loại bồn kim loại truyền thống và được ứng dụng rộng rãi trong các hệ thống xử lý nước giếng khoan, xử lý nước cấp, lọc thô trước RO cũng như nhiều dây chuyền sản xuất công nghiệp.
Bồn lọc áp lực composite là thiết bị lọc nước vận hành trong môi trường áp lực kín, được chế tạo từ vật liệu composite gồm nhựa nền kết hợp sợi thủy tinh quấn nhiều lớp nhằm tạo độ bền cơ học và khả năng chịu lực vượt trội. Nhờ sử dụng vật liệu phi kim loại, bồn hoàn toàn không bị ăn mòn, không bị oxy hóa và không bị tác động bởi các chất hóa học phổ biến trong xử lý nước, giúp thiết bị phù hợp với cả nước thô, nước giếng khoan chứa kim loại nặng hoặc các lưu chất có tính ăn mòn nhẹ.
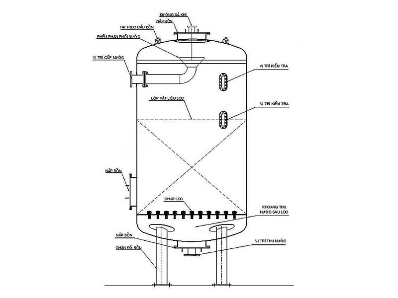
Bên trong bồn là hệ thống phân phối nước, vật liệu lọc và các đường kết nối với van vận hành, cho phép thực hiện đồng thời nhiều chức năng như lọc, rửa ngược, rửa xuôi hoặc hoàn nguyên vật liệu.
Một bồn lọc áp lực composite chất lượng cao thường được thiết kế với các bộ phận sau:
Vỏ bồn được sản xuất bằng công nghệ quấn sợi FPR, trong đó sợi thủy tinh được quấn liên tục để tạo thành các lớp chéo đan xen, giúp tăng khả năng chịu áp lực và độ bền cơ học của bồn. Phía ngoài bồn thường phủ lớp keo chống tia UV để đảm bảo bồn không bị thoái hóa khi đặt ngoài trời trong thời gian dài.

Cấu tạo chi tiết của bồn lọc áp lực composite
Hệ thống phân phối trong bồn đóng vai trò quan trọng trong việc điều hòa dòng nước và tối ưu hiệu suất lọc. Bộ phận này được thiết kế để nước đi qua bồn một cách đồng đều, tránh hiện tượng tạo đường dẫn nhanh hoặc nén chặt vật liệu lọc gây giảm hiệu quả xử lý.
Tùy quy mô hệ thống, bồn có thể sử dụng van tay hoặc van tự động. Các van này cho phép chuyển đổi giữa chế độ lọc, rửa ngược và rửa xuôi chỉ bằng thao tác xoay hoặc lập trình, giúp tối ưu quá trình vận hành và duy trì tuổi thọ vật liệu lọc.
Vật liệu bên trong bồn lọc áp lực composite được lựa chọn dựa trên mục tiêu xử lý cụ thể như:
Tùy theo yêu cầu xử lý, bồn có thể sử dụng vật liệu đơn lớp hoặc đa tầng.
Nước thô được bơm vào bồn dưới áp lực nhất định và đi qua các lớp vật liệu lọc theo quy trình đã được tính toán. Các tạp chất trong nước được giữ lại thông qua cơ chế cơ học, hấp phụ, trao đổi ion hoặc xúc tác oxy hóa. Khi vật liệu mất khả năng giữ cặn, hệ thống sẽ chuyển sang chế độ rửa ngược để làm sạch lớp vật liệu, giúp duy trì hiệu suất và tránh hiện tượng nghẹt lọc.
Nhờ khả năng vận hành trong môi trường áp lực cao và cấu trúc phân phối nước tối ưu, bồn lọc áp lực composite cho độ ổn định cao, đặc biệt trong các dây chuyền hoạt động liên tục hoặc yêu cầu chất lượng nước đầu ra nghiêm ngặt.

Bồn lọc áp lực đa tầng composite
Vì được chế tạo từ vật liệu phi kim nên bồn lọc không bị oxy hóa và không bị rỉ sét như các loại bồn kim loại, đặc biệt phù hợp với nước giếng khoan có pH thấp hoặc chứa ion sắt – mangan.
Một ưu điểm lớn của bồn lọc áp lực composite là trọng lượng nhẹ hơn rất nhiều so với bồn thép hoặc bồn inox cùng kích thước, giúp việc vận chuyển, lắp đặt và bố trí vị trí trở nên thuận tiện và tiết kiệm chi phí.
Công nghệ quấn sợi liên tục giúp bồn chịu được áp lực lớn mà không biến dạng, phù hợp với các trạm xử lý nước lưu lượng cao, nơi áp lực bơm thay đổi liên tục.
Vật liệu composite có độ bền hóa học cao, không bị thoái hóa nhanh dưới tác động của ánh nắng mặt trời hoặc môi trường ẩm ướt. Khi kết hợp với vật liệu lọc chất lượng, bồn có thể vận hành ổn định nhiều năm mà không cần thay thế vỏ bồn.
So với các loại bồn kim loại, chi phí đầu tư ban đầu cho bồn composite thấp hơn trong khi tuổi thọ và hiệu quả xử lý vẫn đảm bảo, mang lại lợi ích kinh tế lâu dài cho doanh nghiệp.
Nhờ cấu trúc bền vững và khả năng chứa nhiều loại vật liệu lọc khác nhau, bồn lọc áp lực composite có thể đáp ứng nhiều yêu cầu xử lý như:
Việc sử dụng bồn composite giúp hệ thống đạt hiệu quả ổn định trong khi vẫn đảm bảo tính gọn nhẹ và linh hoạt khi lắp đặt.

Hệ thống lọc nước công nghiệp
Để lựa chọn đúng thiết bị, doanh nghiệp nên xem xét:
Đường kính bồn phải phù hợp với lưu lượng thực tế. Lựa chọn kích thước quá nhỏ dễ gây nghẹt lọc, trong khi kích thước quá lớn sẽ làm tăng chi phí đầu tư không cần thiết.
Cần kiểm tra áp suất danh định của bồn để đảm bảo tương thích với bơm và đường ống nhằm tránh tình trạng quá áp.
Vật liệu lọc cần được tính toán đúng mục tiêu xử lý. Mỗi loại nước có đặc tính khác nhau, do đó lựa chọn vật liệu phù hợp quyết định hiệu quả xử lý cuối cùng.
Nên ưu tiên những đơn vị sản xuất bồn lọc áp lực composite có quy trình kiểm soát chất lượng rõ ràng, sử dụng vật liệu sợi thủy tinh chuẩn và công nghệ quấn sợi hiện đại.
Bồn lọc áp lực composite là thiết bị quan trọng giúp nâng cao hiệu quả xử lý nước trong nhiều hệ thống khác nhau nhờ khả năng chịu áp lực tốt, chống ăn mòn, vận hành bền bỉ và chi phí đầu tư hợp lý. Khi được lựa chọn đúng kích thước, đúng vật liệu lọc và đúng tiêu chuẩn kỹ thuật, thiết bị này sẽ giúp tối ưu chất lượng nước đầu ra, giảm chi phí vận hành và kéo dài tuổi thọ toàn hệ thống. Đây là giải pháp đáng tin cậy cho doanh nghiệp, nhà máy và công trình dân dụng trong bối cảnh nhu cầu xử lý nước ngày càng đòi hỏi chất lượng cao và độ ổn định lâu dài.
Nếu bạn đang cần tư vấn giải pháp xử lý nước, lọc nước công nghiệp, hãy liên hệ ngay với Công Nghệ Việt Phát để được hỗ trợ chi tiết.
Công ty TNHH Thiết Bị Máy Và Công Nghệ Môi Trường Việt Phát
Công Nghệ Việt Phát – Giải pháp lọc nước công nghiệp đáng tin cậy cho doanh nghiệp Việt.
Công ty TNHH Thiết Bị Máy Và Công Nghệ Môi Trường Việt Phát
GPKD số 0105980275 do Sở KH và ĐT TP Hà Nội cấp ngày 27/08/2012
Địa chỉ ĐKKD: Số 36 ngách 65/5, tổ 18, Phường Phú Diễn, TP Hà Nội, Việt Nam
Địa chỉ sản xuất - Lắp ráp:
Điện thoại: 0932 333 299 – 0986 924 889
Email: congnghevietphat@gmail.com
Trạm lắp đặt và Bảo hành:
Đánh giá Bồn Lọc Áp Lực Composite: Giải Pháp Tối Ưu Cho Hệ Thống Lọc Nước Công Nghiệp Và Dân Dụng Hiện Đại