Lò mổ gia súc, gia cầm là cơ sở chế biến thực phẩm quan trọng nhưng đồng thời cũng phát sinh một lượng lớn nước thải có nguy cơ gây ô nhiễm môi trường nghiêm trọng nếu không được xử lý đúng cách. Việc kiểm soát và xử lý nước thải lò mổ theo đúng quy định là yêu cầu bắt buộc đối với các cơ sở giết mổ công nghiệp, lò mổ tập trung, nhằm bảo vệ sức khỏe cộng đồng và tuân thủ pháp luật về môi trường.
Nước thải từ lò mổ có nguồn gốc chủ yếu từ các hoạt động như:
Thành phần nước thải lò mổ chứa nhiều chất ô nhiễm hữu cơ và vô cơ, bao gồm:

Nước thải lò mổ chưa xử lý gây ô nhiễm môi trường
Nước thải lò mổ được quản lý và giám sát theo QCVN 40:2025/BTNMT – Quy chuẩn kỹ thuật quốc gia về nước thải công nghiệp. Quy chuẩn này quy định các giới hạn cho các thông số như:
Việc lựa chọn cột A hay cột B phụ thuộc vào địa điểm xả thải (nguồn tiếp nhận), và cần được cơ quan môi trường phê duyệt trong hồ sơ môi trường.
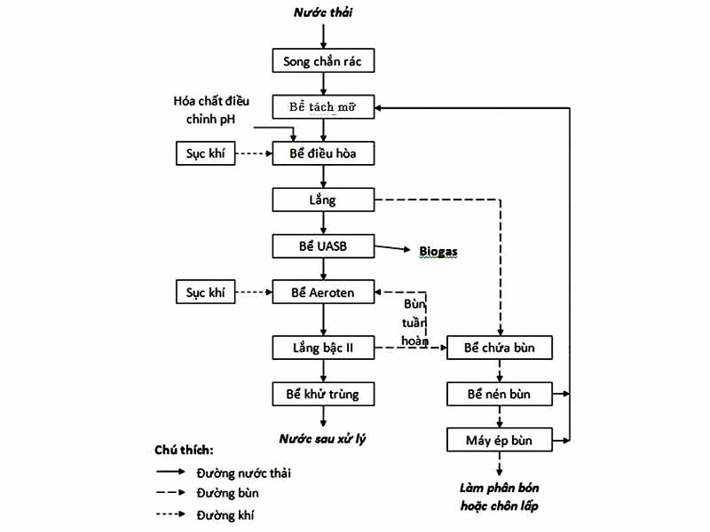
Một hệ thống xử lý nước thải lò mổ hiệu quả thường gồm các công đoạn sau:
Giữ lại lông, vụn xương, mảnh thịt lớn… nhằm giảm tải cho các công đoạn phía sau.
Tách dầu mỡ động vật bằng phương pháp cơ học hoặc hóa lý, hạn chế gây tắc nghẽn và tăng hiệu quả xử lý sinh học.
Trộn đều lưu lượng và nồng độ nước thải, điều chỉnh pH và ổn định dòng chảy trước khi vào các bể sinh học.
Dùng hóa chất (phèn, polymer…) để loại bỏ cặn lơ lửng, chất hữu cơ khó phân hủy, giảm COD, TSS.
Xử lý sinh học kỵ khí nhằm giảm tải COD, BOD ở mức cao. Vi sinh vật phân hủy các chất hữu cơ tạo ra khí methane.

Quy trình xử lý nước thải lò mổ tiêu chuẩn
Tiếp tục xử lý các chất hữu cơ còn lại bằng vi sinh vật hiếu khí. Đây là bước xử lý sinh học quan trọng nhất:
Tách bùn vi sinh và nước trong. Bùn được tuần hoàn hoặc chuyển về bể chứa bùn.
Diệt khuẩn bằng chlorine hoặc đèn UV trước khi xả ra môi trường.

Hệ thống xử lý nước thải đạt chuẩn
Nước thải lò mổ là một trong những loại nước thải công nghiệp có tính chất ô nhiễm cao và phức tạp. Việc lựa chọn đúng công nghệ và thiết kế hệ thống xử lý phù hợp không chỉ giúp đảm bảo tuân thủ QCVN 40:2025/BTNMT mà còn giảm thiểu chi phí vận hành, góp phần bảo vệ môi trường bền vững.
Liên hệ Công Nghệ Việt Phát để được tư vấn miễn phí về phương án xử lý nước thải phù hợp với ngành nghề, quy mô, ngân sách và mặt bằng thực tế của bạn.
Công Ty TNHH Thiết Bị Máy Và Công Nghệ Môi Trường Việt Phát
Công Nghệ Việt Phát – Giải pháp tối ưu cho môi trường bền vững!
Công ty TNHH Thiết Bị Máy Và Công Nghệ Môi Trường Việt Phát
GPKD số 0105980275 do Sở KH và ĐT TP Hà Nội cấp ngày 27/08/2012
Địa chỉ ĐKKD: Số 36 ngách 65/5, tổ 18, Phường Phú Diễn, TP Hà Nội, Việt Nam
Địa chỉ sản xuất - Lắp ráp:
Điện thoại: 0932 333 299 – 0986 924 889
Email: congnghevietphat@gmail.com
Trạm lắp đặt và Bảo hành:
Đánh giá Nước thải lò mổ: Đặc điểm, thách thức và giải pháp xử lý hiệu quả